Кабелепрохід ABLOY EA 280

Купуй більше – отримай додаткову знижку!
Роздрібна ціна з ПДВ (без вартості монтажу):
1 596,00 грн. з ПДВ
Артикул:
ABL-EA280 100000
Є в наявності
Кількість
Орієнтовна вартість послуги з монтажу (не входить в вартість товару):
від 600,00 грн.
Виробник:
ABLOY Фінляндія
• Тип товару:
Кабелепрохід
• Бренд продукту:
ABLOY
Повний опис

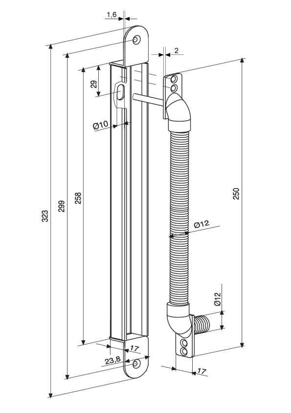
Кабелепрохід ABLOY EA 280 призначений для забезпечення прокладання кабелю між полотном дверей та рамою із запобіганням його пошкодження при встановленні електромеханічних замків ABLOY та інших електромеханічних та електроригельних замків.

Застосування: для дверей з кутом відчинення до 120° і відстань від осі завіс до дверної рами менше 20 мм.

Технічні характеристики:
-    Максимальний діаметр кабелю: 7,5 мм
-    Стандартний монтаж: до полотна дверей. Можливий монтаж до рами
-    Матеріал:
-    Корпус: сталь
-    Гнучкий перехід: сталь
-    Обробка: хром
Загальна довжина корпусу - 323мм
Довжина гнучкого переходу з кронштейнами - 250мм.